Хит продаж

Модули обратных клапанов

Пробковые коррозионно-кавитационно стойкие предназначенные для защиты насосных агрегатов, насосных станций, компрессорного оборудования, в нефтегазовых и в нефтехимических магистралях,
– системах поддержания пластовых давлений (ППД),
– кустовых блочных (Б.К.Н.С),
– дожимных насосных станций (Д.Н.С.) с обеспечением герметичности по ГОСТ 9544-93 для жидкостей,
– компрессоров с обеспечением герметичности по ГОСТ 5542-83, для природного газа в условиях климатических районов I2 II3 по ГОСТ 15350-80.

Элементы модуля, определяющие его работоспособность и герметичность выполнены в коррозионно-кавитационностойком, износостойком исполнении, токонепроводящие, нейтральны, как в электрохимической коррозии так и отложениям солей и парафинов.

Цена: по запросу.

  • ОПИСАНИЕ
  • ТЕХНИЧЕСКИЕ ХАРАКТЕРИСТИКИ
  • ПРЕДВАРИТЕЛЬНЫЙ ЗАКАЗ

Нашей организацией разработаны, запатентованы и производятся модули обратных клапанов пробковые коррозионно-кавитационно стойкие предназначенные для защиты насосных агрегатов, насосных станций, компрессорного оборудования, в нефтегазовых и в нефтехимических магистралях.

Климатическое исполнение УХЛ, категория размещения при эксплуатации I по ГОСТ 15150-69.

Отличительные особенности конструкции модулей обратных клапанов пробковых коррозионно-кавитационно стойких
позволяют в процессе эксплуатации:
1. Сократить элементную базу конструкции модуля.
2. Значительно увеличить гарантийную наработку до первого ремонта.
3. Достичь экономии электроэнергии. При эксплуатации модулей экономия электроэнергии превышает их стоимость менее чем через 8-10 месяцев эксплуатации, так как элементы, определяющие гидросопротивление, выполнены обтекаемыми (форма торпеды).
4. Обеспечить ремонтопригодность как в стационарных, так и в полевых условиях.
5. Снизить гидродинамические нагрузки на модуль с обеспечением безгидроударного перекрытия трубопроводов в процессе эксплуатации.
6. Возможность эксплуатации в любой плоскости.

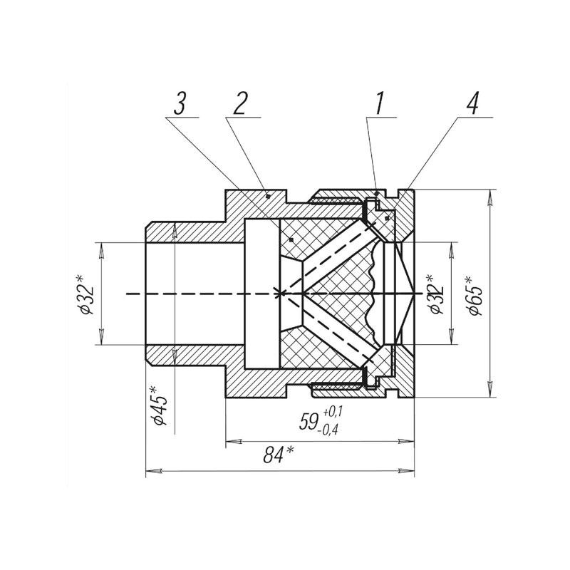
Спецификация (см. чертеж)

Обозначение Наименование
1 Корпус
2 Гнездо клапана
3 Клапан
4 Седло
Рабочее давление, кгс/см² (МПа) 250 (25)
Температура эксплуатации, °С от -60 до +280
Рабочая среда нефть, газ, вода пресная, техническая, подтоварная, сеноманская, химический состав и концентрация твердых частиц в перекачиваемой среде не регламентируется
Гарантийная наработка до первого ремонта не менее 6000 циклов

Гарантийный срок эксплуатации клапанов:
без ремонтно-восстановительных работ не менее 4-х лет
полный срок эксплуатации не менее 15 лет

* поле обязательное для заполнения

Контакты

Телефон : +7 (909) 306-46-99, +7 (85595) 2-75-55

Email : tek-office@mail.ru

Адрес : Казань, ул. Дубравная, 43 А

© 2004-2024 ООО «ТЭК-нефтесервис» | Партнер портала PriceShop.Ru - Добыча